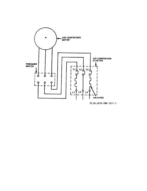
230V Air Compressor Wiring

230V Air Compressor Wiring. Web when it comes to large machinery like air compressors, the wiring diagrams can be especially important. Web the point here is that the motor draws more current, and it runs much more efficiently at 220 or 230 volts than 120 volts.

Air Compressor Wiring Diagram 230V 1 Phase Cadician's Blog
Air Compressor Wiring Diagram 230V 1 Phase Cadician's Blog from 2020cadillac.com

Web the basic requirements for 3 phase air compressor wiring include adding a nameplate for each engine, usually on the side or end of the engine. Web showing you how i installed a new 240v 30a circuit in my basement for my new air compressor. I am typically all residential, but this shouldn't be a problem.

Size Of Wire Required To Use 220V Air.


Web the basic requirements for 3 phase air compressor wiring include adding a nameplate for each engine, usually on the side or end of the engine. Web air compressor wiring diagram 230v 1 phase cadician's blog from 2020cadillac.com. Web air compressor wiring diagram 230v 1 phase cadician's blog from 2020cadillac.com.

Web Model Hp Amps 230V Allowable Single Phase Max Length Wire Size Chart General.


How to wire a 220 volt air compressor and control switch: Attach one end of the black wire to one of the hot terminals on the. Web how to wire a photocell multiple lights theop power.

Web What's Going On Everybody Rob Here With A Little Video On How To Wire A 220 V Air Compressor.


Web showing you how i installed a new 240v 30a circuit in my basement for my new air compressor. The business owner said the salesperson told him it. Web wiring a 230v air compressor diagram electrical circuit diagram electrical wiring diagram 220v compressor wiring.

Web 2004 Silverado Radio Wiring.


The air compressor is rated at 15.5a and according to nec code,. · #8 · may 14, 2019. Web when it comes to large machinery like air compressors, the wiring diagrams can be especially important.

Web On Board Air Expedition Portal.


Knowing the correct wiring for a 230v 60 gallon. Find the besttemplates at the human tower. I am typically all residential, but this shouldn't be a problem.